中国信创500强企业
  • 售前 139-1875-1467
  • 售后 150-0219-7409

过程性档案管理系统

——将不同维度的数据统一格式化成一个维度,新一代学生综合素质评价系统和教师业务发展系统建设方案

产品首页 >> A09•e人e表档案系统
金年会网页版e人e表档案系统

系统概述

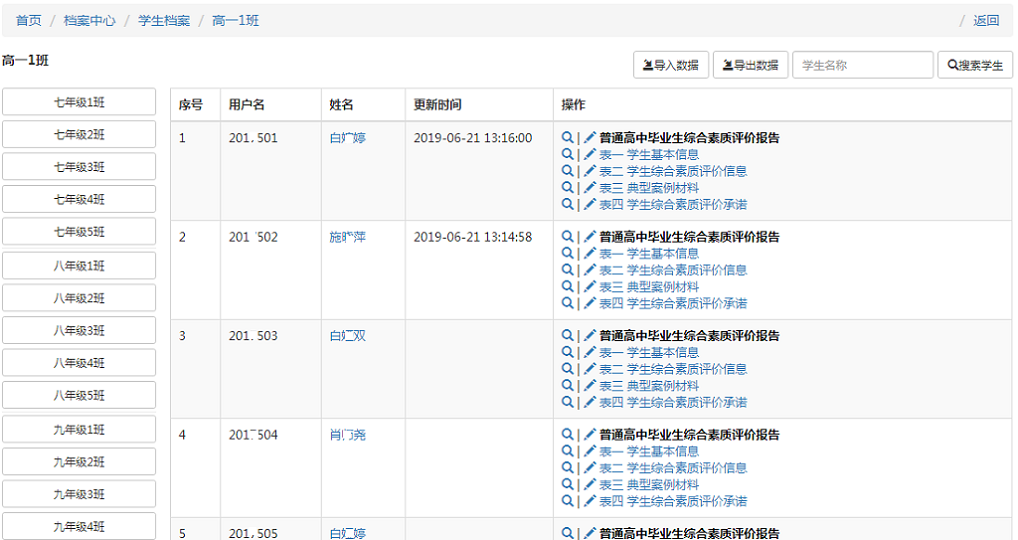
学校有各种各样的档案系统需要开发和维护,常用档案有:学生学籍档案、学生综合素质评价档案、教师业务档案、教师教科研档案等,上述档案或系统都有一个共同的特点,他们都是以人为中心,记录学生或者教职工个人的各种事迹和材料;获奖等很多资料往往还需要上传盖章照片等辅助资料佐证。

之前的普遍做法是为每一个业务分别购买或者委托开发一套系统,其中大多数是按需定制开发的专用系统,例如,学籍管理专门记录学生的学籍档案,教师档案系统专门记录教师的业务档案,教科研管理系统专门记录教师从事教研和科研的各种课题档案。这样做的好处是专用系统在购买或者开发当时能够完全满足使用者的全部需求,而且按使用者的操作习惯来定制;坏处则是需要购买或者开发多个系统,不但建设成本高,更严重的是一旦需求变更,系统就需要重新立项二次开发,而且有些系统因为是定制开发的缘故,二次开发还不方便。

e人e表系统(又名“一人一表系统”)是一款以“人”为中心的档案数据化系统,通过个性化表格生成师生过程性档案,从根本上解决人员档案管理不通用的难题。该系统凭借独具特色的表单设计模型成功整合了档案定制、表单设计、记录对象管理、数据源管理、统一输入和输出等多项技术,为学校和教育局提供了一个用途广泛的可视化档案类数据管理解决方案。系统由制表、填表、报表三个子系统构成,可用于构建学生学籍管理系统、教职工档案系统和学生综合素质评价系统等多种档案管理系统,给教师专业发展和学生个性化学习进行数字画像。

适用:各级各类学校和教育局。

使用流程

整体流程

制表 -> 填表 -> 报表

制表流程

创建选择源 -> 创建表单元素 -> 创建表单 -> 创建档案

填表流程

选择人 -> 选择档案 -> 选择表单 -> 填表

报表流程

新建报表 -> 选择一个档案 -> 选择一张或多张表单 -> 选择一个或多个指标 -> 指定填表起止时间 -> 执行查询,抓取数据 -> 保存报表

系统特色

1.档案自定义:支持从现有表单库中任意抽取一张或多张表单按照一定顺序组建一份新的档案;

2.档案导入导出:支持XML档案模版的批量导入和导出,降低档案制表工作量;

3.表单可共享:可视化设计表单,所见即所得;表单可以被多个档案引用;

4.元素可共享:表单元素作为统一的数据录入控件,每个元素都可以被多个单元格引用;

5.选择源共享:选择源可以直接从教育部代码库中直接引用,每个选择源可以被多个表单元素共享引用;

6.单元格级别的授权:系统提供单元格级别的读写授权,确保授权用户才能读写相关数据;

7.数据导入:支持批量数据导入;

8.数据导出:支持批量档案数据导出,导出格式为word或者excel文件;

9.数据抓取:支持自定义数据抓取并保存为报表。

观看视频

应用场景介绍视频15:02 学生综合素质评价软件讲解合集

应用场景介绍视频12:47 金年会网页版区校通用教育评价解决方案